Type DD fenders are simple rubber profiles, usually attached with bolts to the structure. It can be made in virtually any length then cut and drilled to suit each application. Pre-curved sections and special sizes are available on request.
Usually black in color, Type DD fenders can also be supplied in creamy white as an option.
Features
With reasonable reaction it may absorb more energy than that of cylindrical type
Convenient to installing
It is usually used for docks of frame work type and ships due to the small size of its bottom width
Applications
Jetties and wharves for small craft
Tugs and workboats
Pontoon protection
Inland waterways
General purpose fendering
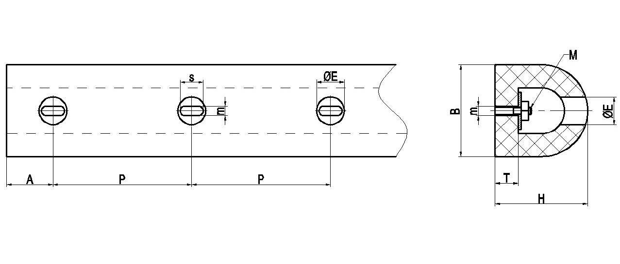
Specifications of DD Type Rubber Fender
| Specifications | H | B | T | A | P | ØE | S | m | M | Max Length (mm) |
Weight (kg/m) |
||||||||
| DD90x120 | 90 | 120 | 20 | 100~250 | 300~500 | 30 | 16 | 16 | M12 | 2000 | 7.8 | ||||||||
| DD100x100 | 100 | 100 | 28 | 100~250 | 300~500 | 30 | 16 | 16 | M12 | 5000 | 10 | ||||||||
| DD125x125 | 125 | 125 | 20 | 100~250 | 300~500 | 30 | 16 | 16 | M12 | 2000 | 13 | ||||||||
| DD150x150 | 150 | 150 | 40 | 100~250 | 300~500 | 50 | 50 | 25 | M22 | 5000 | 19 | ||||||||
| DD200x200 | 200 | 200 | 50 | 100~250 | 300~500 | 60 | 25 | 25 | M22 | 3000 | 35 | ||||||||
| 200 | 200 | 30 | 100~250 | 300~500 | 55 | 45 | 27 | M24 | 2000 | 32 | |||||||||
| DD250x250 | 250 | 250 | 60 | 100~250 | 300~500 | 65 | 65 | 32 | M27 | 4000 | 55 | ||||||||
| DD300x300 | 300 | 300 | 75 | 100~250 | 300~500 | 75 | 68 | 34 | M30 | 4000 | 78 | ||||||||
| DD350x350 | 350 | 350 | 80 | 100~250 | 300~500 | 88 | 35 | 35 | M30 | 3000 | 107 | ||||||||
| DD400x400 | 400 | 400 | 100 | 100~250 | 300~500 | 100 | 80 | 40 | M36 | 3000 | 140 | ||||||||
| DD400X450 | 450 | 400 | 100 | 100~250 | 300~500 | 100 | 80 | 40 | M36 | 4000 | 153 | ||||||||
| DD500x500 | 500 | 500 | 125 | 100~250 | 300~500 | 115 | 78 | 52 | M48 | 3000 | 218 | ||||||||
| Specifications | Energy Absorption (KJ) |
Reaction Force (KN) |
| D200x200x850 | 4.3 | 125 |
| D200x200x900 | 4.6 | 132.3 |
| D200x200x1000 | 5.1 | 147 |
| D200x200x1500 | 7.7 | 220 |
| D200x200x2000 | 10.2 | 294 |
| D300x300x850 | 10 | 255 |
| D300x300x900 | 10.6 | 265 |
| D300x300x1000 | 11.8 | 294.3 |
| D300x300x1500 | 16.7 | 441.5 |
| D300x300x2000 | 23.6 | 588.6 |
| D300x300x2500 | 29.9 | 735.8 |
| D400x400x850 | 16.7 | 325.2 |
| D400x400x1000 | 19.6 | 382.6 |
| D400x400x1500 | 29.4 | 573.9 |
| D400x400x2000 | 58.8 | 765.2 |
| D500x500x850 | 26.7 | 383.6 |
| D500x500x1000 | 31.4 | 451.3 |
| D500x500x1500 | 47.1 | 686.7 |
| D500x500x2000 | 62.8 | 902.6 |